




Récepteur d'alarme gaz Seitron DRG01M
€105,41 iva inclusa
Spedito in 24-48h
Spedizione gratis con minimo ordine di €500
- Descrizione
- Scheda tecnica
- Recensioni
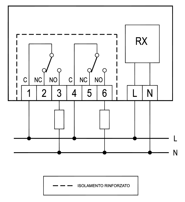
Récepteur radio pour SEGUGIO WIRELESS équipé de deux relais de sortie SPDT pour activer une charge en cas d'alarme gaz et en cas de panne de capteur ou autre panne. Deux LED multicolores permettent l’affichage de l’état « alarme » et « défaut » ainsi que l’affichage de la qualité de la communication radio. Le DRG01M peut être associé via auto-apprentissage à plusieurs SEGUGIO WIRELESS, jusqu'à un maximum de 12.
CARACTÉRISTIQUES TECHNIQUES
Alimentation 230V~ 50Hz
Consommation électrique 11 VA
Sortie (relais) 2x6A 250V~
Fréquence de transmission 868,150 MHz
Type d'antenne Stylet interne
Indicateurs LED bicolores État de l'accélérateur/qualité de la transmission
Degré de protection IP4X
Dimensions A125 L78 P30,5 mm



